从2019年开始,在更严格的排放法规的推动下,OEM终于开始对电动汽车认真起来。他们开发出电动汽车专属平台,发挥三电系统的最大价值,同时凭借着平台的共享和灵活应用,提升电动汽车的规模经济效应。
到2020年情况与2015年时大不相同。传统OEM越来越重视电池系统。大部分OEM现在正在使用NCM 523或NCM 622电池,并准备升级到能量密度更高的电池,例如NCM712,NCM 811,甚至NCMA。

到目前为止,哪些海外传统OEM已经开发了电动汽车专属平台,又采用什么结构的电池,性能又如何?
大众MEB平台
大众集团的MEB平台主要用于大众、斯柯达和西雅特品牌。其中大众品牌已经发布了两款采用MEB平台的车型信息。一款是ID. 3,仅在海外市场销售,一款是ID.4将销往全球市场,其中国内市场的名字为ID.初见。
大众的MEB平台有7、9、12、16个590标准模组的电池方案选择,且可以兼容软包和方形电芯。不同数量模组的电池包容量分别是48kWh、62kWh、83kWh、111kWh,对应的WLTP续航里程为330公里、400公里、500公里、665公里。


大众ID.4基于MEB模块化电气架构而成。它比电动掀背车更大,长度约为4600mm。这意味着它的尺寸在短轴距Tiguan和长轴距Tiguan Allspace之间,但轴距应该比两者都稍长。考虑到其纯电动驱动系统,ID.4将提供比Tiguan更宽敞的内部空间。
与ID.3相比,大众ID.4预计将增加一台额外的电动机,实现全轮驱动,总输出功率为306马力。前置电机输出功率为80kW(110马力),后置电机应与ID.3共享,输出功率为150kW(204马力)和310Nm的瞬时扭矩。
大众ID.4还将有望与ID.3共享其电池组选件,提供45 kWh,58 kWh和77 kWh的电池单元,行驶范围分别为330公里,420公里和550公里。
奥迪、保时捷PPE平台
PPE平台是大众集团的第二大电动汽车专属平台,主要供给奥迪和保时捷。到目前为止,奥迪和保时捷还未推出基于PPE平台打造的电动汽车。奥迪e-tron和e-tron sportback采用的平台是MLB evo,奥迪e-tron GT和保时捷Taycan采用的是J1 Performance。下一代Macan将是首批基于PPE架构的车型之一。

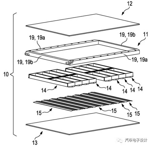
奥迪e-tron和保时捷Taycan配置的均是390模组的电池系统,不过模组数量不同。e-tron 55电芯个数共计432个(108s4p),Taycan电芯个数共计396(198s2p)。
PPE平台的电池模组设计方案是建立在MEB的590基础上。每个模组是由前后两个长度相同、中间由隔板隔开的模组组成的一体化结构的长模组方案。它仍然可以兼容软包和方形电池。

图片来源于汽车电子设计
奔驰EVA平台
奔驰以全新品牌EQ为主,从2019年开始,推出自己的一系列电动车。已国产的EQC是基于EVA1平台(可能是MRA平台改造而成),EQA和EQB基于EVA1.5平台(可能是基于MFA平台改造而成),V295(EQE)基于EVA2.0平台打造。

EQC可用电池容量为80kWh,EPA工况下续航里程可能有360公里。它采用的是SKI提供的NCM622电芯,电芯个数有384个(96s4p),涵盖两个含48颗电芯的模组,四个含72颗电芯的模组。
宝马第五代平台
2021年宝马第五代平台将推出电动汽车,如i4,iX3,iNext。对于第五代系统,为了能够跟上电动汽车性能的变化,它大幅优化电机、变速箱、电力驱动元件以及电池。第五代平台可对电池系统的尺寸进行灵活性设置:SUV用高电芯;轿车用矮电芯。

宝马i4的电池容量有80kWh,WLTP工况下续航里程600km。电驱动方面,它提供前后双电机电驱系统布局,最大输出功率385kW(约合523马力),百公里加速时间4秒内,最高车速超过200km/h。
通用BEV3平台
通用未来的所有电动车都基于BEV3和Ultium电池平台来开发。BEV3第三代全球电动车平台将用于通用旗下品牌雪佛兰、别克、悍马、凯迪拉克,从大众化主流用车到小众化的豪华品牌。
Ultium电池通过变更材料降本,将NCM三元正极材料更改为NMCA。另外,它通过更改电芯放置方式(垂直或水平放置)、电芯串并联的数量(8S2P、6S2P)等形成电量、高矮不一的三种标准模组,然后再根据车型大小和电量需求、以及底盘的高低来选择不同的模组以及数量来进行搭配成组(6模组、8模组、10模组、12模组)。

Cruise Origin纯电动自动驾驶共享车型是首款搭载第三代电动车平台和Ultium电池的产品。
日产Leaf
LEAF e+版采用的电池容量为62kWh。尽管容量提升,但是新电池完全适用于容纳LEAF 40kWh电池的空间。为了确保额外的25%能量密度,保持结构大小不出现大幅变化,日产缩小电芯之间的空间,最终pack的整体高度仅高出了5mm。

电芯为远景AESC的软包电池,日产在其位于田纳西州的士麦那电池工厂生产供给LEAF的40kWh和62kWh电池。e+版采用的62kWh电池共由288个电芯组成,而40kWh电池包内含192个电芯。
电池容量增加后,LEAF e+的EPA 续航里程为364公里,WLTP续航里程为385公里
现代汽车E-GMP平台
KONA新能源车、起亚汽车旗下的e-Niro是基于现有的 ICE 平台打造而成。
去年CES上,现代汽车正式发布了其纯电动汽车平台EGMP。现代基于E-GMP平台打造的原型车预计在2021年第一季度投产。首款车内部代号为NE,将是一款紧凑型SUV电动车,续航里程近500公里。

SK Innovation为现代集团提供50万辆电动车动力电池,用于现代首款E-GMP平台的车型。该车将采用800V高压电池包,自2021年第一季度在韩国蔚山工厂生产。
E-GMP平台前后轴可放置电动机,电池组平铺于底盘中间。它将采用现代Wia的集成驱动桥(IDA)技术。该技术将驱动轴与车轮轴承相结合,减少了传统结构的连接件以降低故障率。
标致雪铁龙CMP平台
CMP平台并非是电动汽车专属平台,若采用它来开发电动汽车,属于“油改电”车型。它的电池包结构为异形电池,容量50kwh,续航里程WLTP为300-350km。

来源:第一电动网
来源:小编
特别声明: 以上内容转载自小编,目的在于传播更多信息,如有侵仅请联系删除,转载内容并不代表CNEV新能源汽车网(www.chinanev.net)立场。
部分图片来源于网络,如有侵权请告知删除
版权所有©2007-2026 CNEV新能源汽车网
新能源汽车网所有信息及作品,未经书面授权不得转载
商务联系请扫码
新能源汽车网官方微信
![]()